字节跳动申请注册Seedance商标
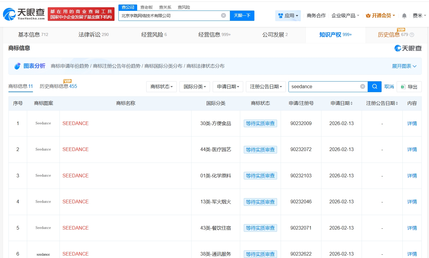
天眼查知识产权信息显示,近日,北京字跳网络技术有限公司申请注册多枚“SEEDANCE”商标,国际分类包括方便食品、医疗园艺、化学原料等,当前商标状态均为等待实质审查。
北京字跳网络技术有限公司成立于2018年10月,法定代表人为水恒熠,注册资本1亿美元,经营范围包括软件开发、会议服务、企业策划等,由抖音集团(香港)有限公司全资持股。
公开资料显示,Seedance 2.0是字节跳动推出的AI视频生成模型,可根据文本或图像创建电影级视频。今年2月,其开始小范围内测并在即梦平台上线。



本文转载自天眼查,转载目的在于传递更多信息,并不代表本站赞同其观点和对其真实性负责。如涉及作品内容、版权和其它问题,请联系天眼查通知我方删除,我方将在收到通知后第一时间删除内容!本文只提供参考并不构成任何投资及应用建议。本站拥有对此声明的最终解释权。
