富力地产等被执行1.35亿
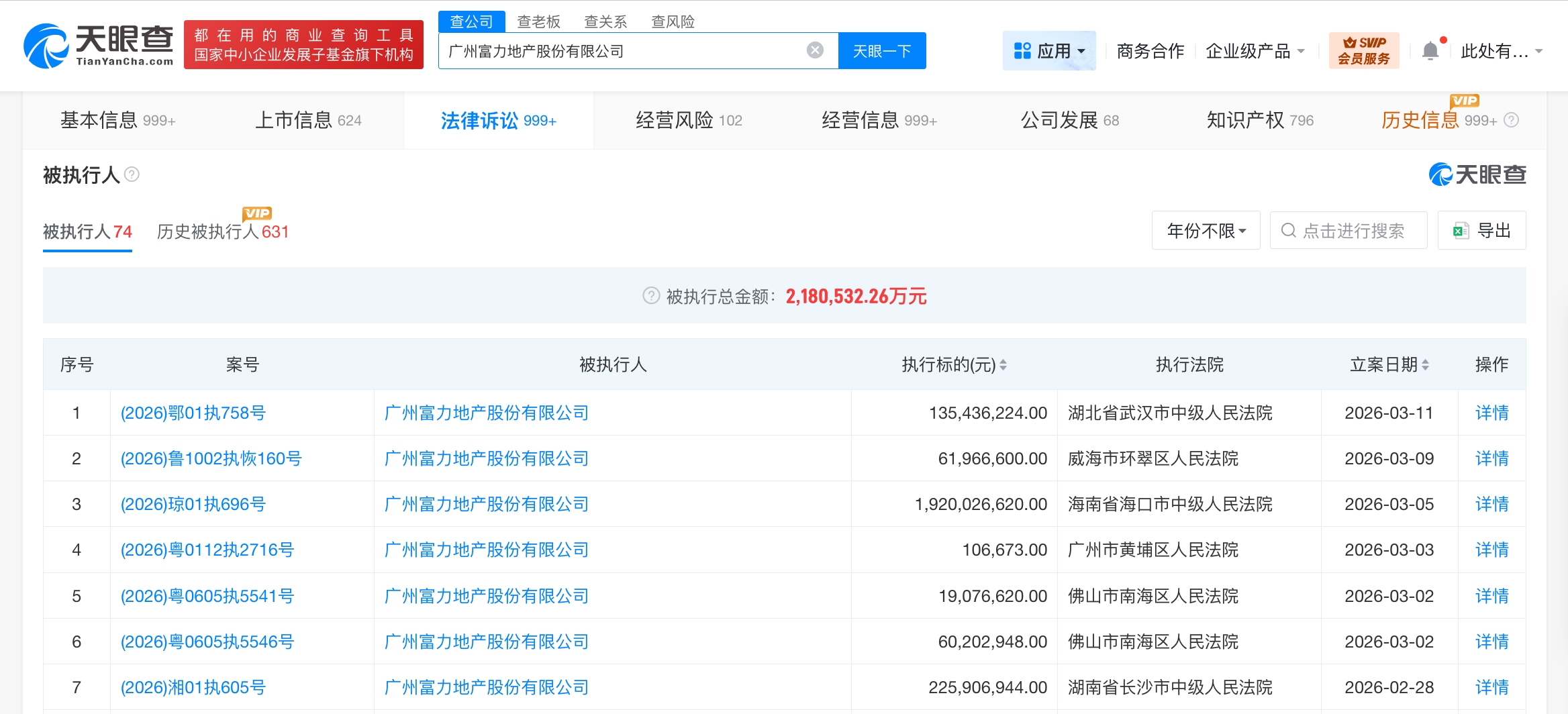
天眼查法律诉讼信息显示,近日,广州富力地产股份有限公司、武汉东西湖富力房地产开发有限公司等新增一则被执行人信息,执行标的约1.35亿余元,执行法院为湖北省武汉市中级人民法院。
广州富力地产股份有限公司成立于1994年8月,法定代表人为李思廉,注册资本约37.5亿人民币,经营范围包括房地产开发经营、酒店管理等。股东信息显示,该公司由李思廉、张力、陈量暖等共同持股。天眼风险信息显示,该公司现存70余条被执行人信息,被执行总金额超200亿元。此外,该公司还存在限制消费令、失信被执行人(老赖)及终本案件信息。



本文转载自天眼查,转载目的在于传递更多信息,并不代表本站赞同其观点和对其真实性负责。如涉及作品内容、版权和其它问题,请联系天眼查通知我方删除,我方将在收到通知后第一时间删除内容!本文只提供参考并不构成任何投资及应用建议。本站拥有对此声明的最终解释权。
