王子杰未持有丝芭股份
据报道,4月16日,上海丝芭文化传媒集团有限公司发布官方讣告。
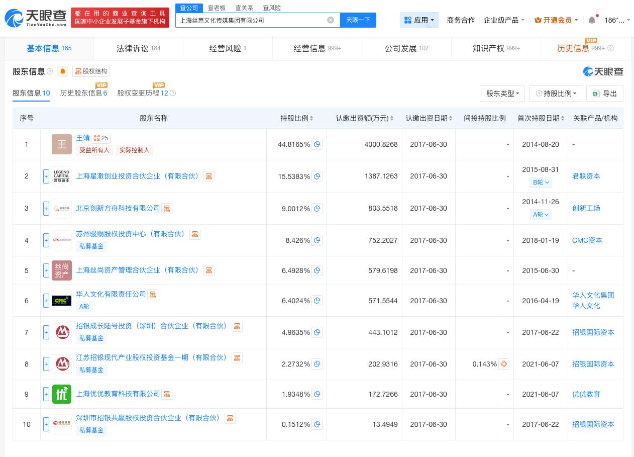
天眼查App显示,上海丝芭文化传媒集团有限公司成立于2010年5月,法定代表人为王靖,注册资本约8927万人民币,经营范围包括营业性演出、演出经纪、广播电视节目制作经营等,由王靖、上海丝尚资产管理合伙企业(有限合伙)等共同持股。此外,该公司实际控制人、最终受益人均为王靖。
公开信息显示,王靖为王子杰妹妹。


本文转载自天眼查,转载目的在于传递更多信息,并不代表本站赞同其观点和对其真实性负责。如涉及作品内容、版权和其它问题,请联系天眼查通知我方删除,我方将在收到通知后第一时间删除内容!本文只提供参考并不构成任何投资及应用建议。本站拥有对此声明的最终解释权。
