起底欠费5000万邮轮公司
据媒体报道,近日,蓝梦邮轮旗下“蓝梦之歌”号因拖欠油款被扣船,此外,约200位员工被欠薪,相关话题引发热议。
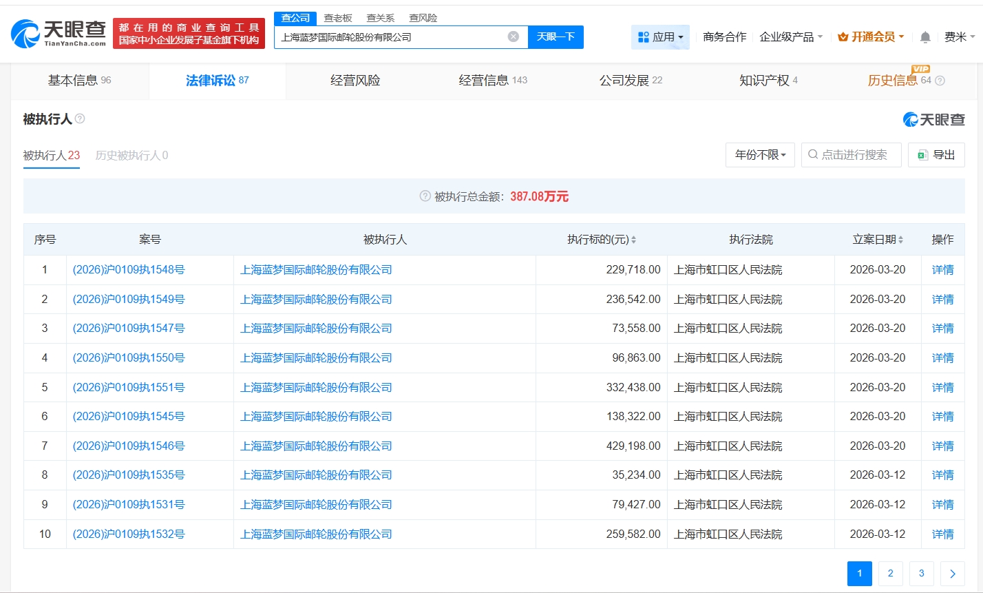
天眼查App显示,蓝梦邮轮关联公司上海蓝梦国际邮轮股份有限公司成立于2016年8月,法定代表人为林恩杰,注册资本约7711万人民币,经营范围包括邮轮港口服务、邮轮配套服务、国际船舶运输等,由福建中运投资集团有限责任公司、青岛聚融产业投资有限公司、舟山群岛国际邮轮港有限公司共同持股。法律诉讼信息显示,近期,该公司及法定代表人林恩杰因未按执行通知书指定的期间履行生效法律文书确定的给付义务,被限制高消费。案件流程显示,今年2月,该公司已因此案被执行11万余元。值得一提的是,该公司现有20余条被执行人信息。变更记录显示,今年2月,王鹏卸任该公司法定代表人,由林恩杰接任。




本文转载自天眼查,转载目的在于传递更多信息,并不代表本站赞同其观点和对其真实性负责。如涉及作品内容、版权和其它问题,请联系天眼查通知我方删除,我方将在收到通知后第一时间删除内容!本文只提供参考并不构成任何投资及应用建议。本站拥有对此声明的最终解释权。
