菌小宝被冻结500万股权
天眼查天眼风险信息显示,近日,菌小宝关联公司上海菌小宝健康科技有限公司新增一则股权冻结信息,股权所在企业为上海菌小宝健康管理集团有限公司,冻结股权数额500万人民币,冻结期限为3年,执行法院为上海市第一中级人民法院。
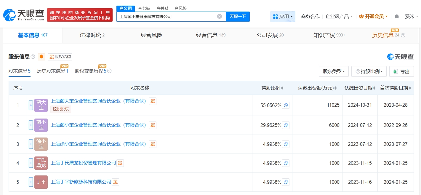
上海菌小宝健康科技有限公司成立于2019年5月,法定代表人为涂醉桃,注册资本约2亿人民币,经营范围包括第一类医疗器械销售、专业设计服务等。股东信息显示,该公司由上海菌大宝企业管理咨询合伙企业(有限合伙)、上海菌小宝企业管理咨询合伙企业(有限合伙)等共同持股。
据媒体报道,因宣称可改善妇科炎症等不实内容,日前,菌小宝电商渠道经销商美惠生物科技(上海)有限公司被上海市崇明区市场监督管理局罚款3万元。



本文转载自天眼查,转载目的在于传递更多信息,并不代表本站赞同其观点和对其真实性负责。如涉及作品内容、版权和其它问题,请联系天眼查通知我方删除,我方将在收到通知后第一时间删除内容!本文只提供参考并不构成任何投资及应用建议。本站拥有对此声明的最终解释权。
