启境汽车今年已申请GT7商标
据媒体报道,今日,启境GT7亮相2026北京车展,据悉,其将搭载全新一代HUAWEIXPIXEL双百万像素彩色智慧投影大灯,预计6月将正式上市。
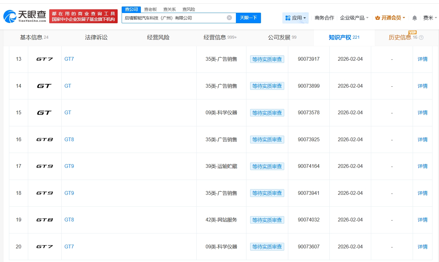
天眼查知识产权信息显示,今年2月,启境汽车关联公司启境智能汽车科技(广州)有限公司已申请注册多枚“GT7”“GT8”“GT9”商标,国际分类包括科学仪器、广告销售等,目前商标状态均为等待实质审查。
该公司成立于2025年3月,法定代表人为閤先庆,注册资本21亿人民币,经营范围包括汽车销售、汽车零部件及配件制造、汽车零配件批发等,由广州汽车集团股份有限公司、广汽埃安新能源汽车股份有限公司共同持股。



本文转载自天眼查,转载目的在于传递更多信息,并不代表本站赞同其观点和对其真实性负责。如涉及作品内容、版权和其它问题,请联系天眼查通知我方删除,我方将在收到通知后第一时间删除内容!本文只提供参考并不构成任何投资及应用建议。本站拥有对此声明的最终解释权。
