成都智能网联汽车科技发展公司增资至8.3亿 增幅约31%
天眼查App显示,近日,成都智能网联汽车科技发展有限公司发生工商变更,注册资本由约6.4亿人民币增至约8.3亿人民币,增幅约31%,同时新增成都经开智行私募股权投资基金合伙企业(有限合伙)为股东。
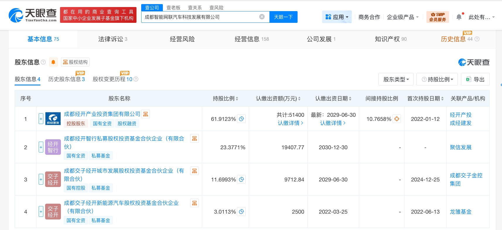
成都智能网联汽车科技发展有限公司成立于2018年5月,法定代表人为曾邦余,经营范围包括网络预约出租汽车经营服务、机动车检验检测服务、供电业务等。股东信息显示,该公司由成都经开产业投资集团有限公司、成都交子经开城市发展股权投资基金合伙企业(有限合伙)、成都交子经开新能源汽车股权投资基金合伙企业(有限合伙)及上述新增股东共同持股。



本文转载自天眼查,转载目的在于传递更多信息,并不代表本站赞同其观点和对其真实性负责。如涉及作品内容、版权和其它问题,请联系天眼查通知我方删除,我方将在收到通知后第一时间删除内容!本文只提供参考并不构成任何投资及应用建议。本站拥有对此声明的最终解释权。
