郭艾伦企业已注册篮球训练营商标
据报道,4月7日,郭艾伦发文回应网传被骗千万。
天眼查工商信息显示,上海烁光体育文化发展事务所成立于2017年4月,出资额10万人民币,经营范围含体育赛事策划、文化艺术交流策划、体育咨询等,为郭艾伦个人独资企业。目前该事务所已注销。
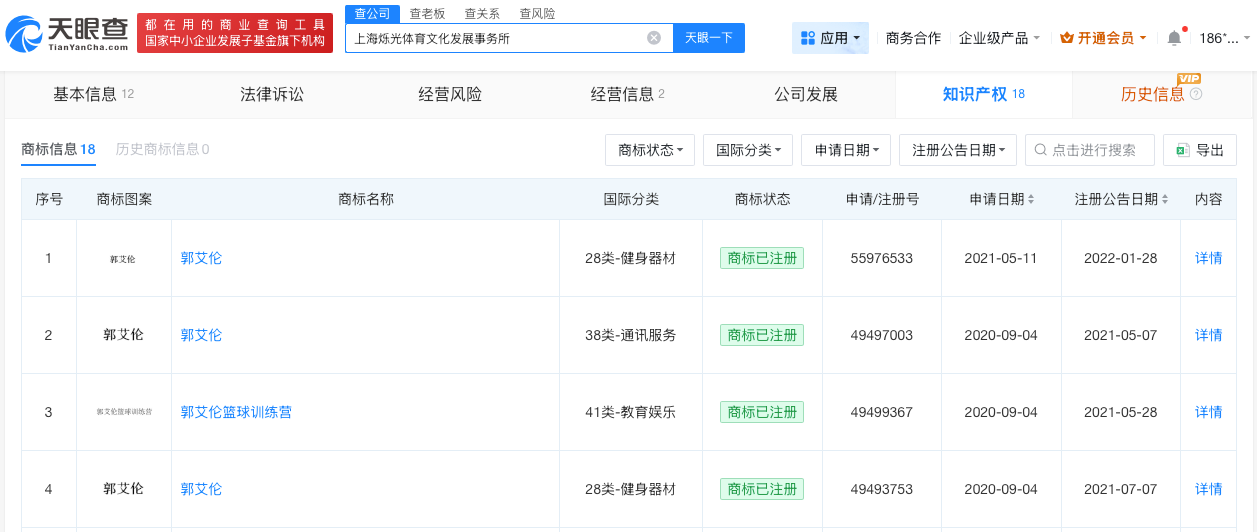
知识产权信息显示,该企业已注册多枚“郭艾伦”“郭艾伦篮球训练营”商标,国际分类涉及健身器材、通讯服务、教育娱乐等,当前商标状态多为已注册。


本文转载自天眼查,转载目的在于传递更多信息,并不代表本站赞同其观点和对其真实性负责。如涉及作品内容、版权和其它问题,请联系天眼查通知我方删除,我方将在收到通知后第一时间删除内容!本文只提供参考并不构成任何投资及应用建议。本站拥有对此声明的最终解释权。
