小米近期成功注册玄戒O1商标
据媒体报道,4月27日,小米CEO雷军在投资者日上宣布,小米玄戒O1出货量已突破100万颗,未来小米自研芯片还会在小米汽车上使用。
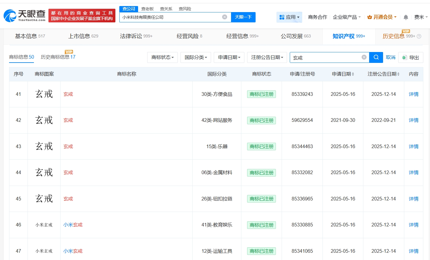
天眼查知识产权信息显示,小米科技有限责任公司已注册多枚“玄戒”“小米玄戒”“XRING O1”商标,国际分类包括医药、乐器、地毯席垫等。此外,北京玄戒技术有限公司登记了“Xiaomi XRING O1芯片视觉设计图”作品著作权,作品类别为美术。





本文转载自天眼查,转载目的在于传递更多信息,并不代表本站赞同其观点和对其真实性负责。如涉及作品内容、版权和其它问题,请联系天眼查通知我方删除,我方将在收到通知后第一时间删除内容!本文只提供参考并不构成任何投资及应用建议。本站拥有对此声明的最终解释权。
