阿Sa公司申请容我SA娇商标被驳回

据媒体报道,4月28日,蔡卓妍宣布结婚。据悉,去年11月,阿Sa被曝与健身教练Elvis林俊贤交往中,阿Sa今年1月在采访承认恋情,3月承认同居并已带男方见家长。

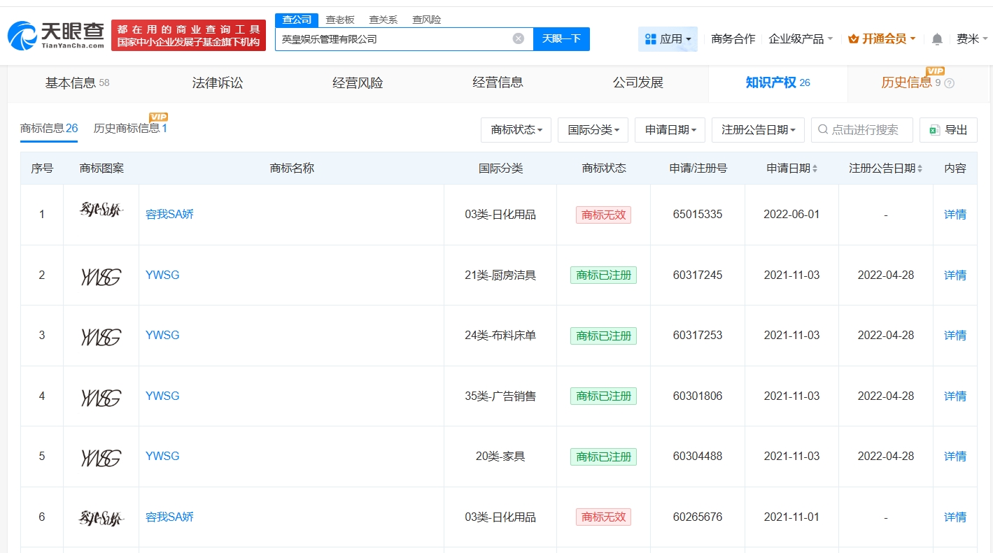
天眼查App显示,英皇娱乐管理有限公司曾申请注册“TWINS”商标,国际分类为皮革皮具、服装鞋帽、布料床单,目前部分商标已成功注册,此外,该公司曾申请注册“容我SA娇”商标,国际分类为日化用品,目前该商标已被驳回,处于无效状态。

公开资料显示,阿娇(钟欣潼)与阿Sa(蔡卓妍)共同签约英皇娱乐,组成组合Twins。


80f3586af205b667d7d30109ef7daea9.jpg


48ffceed983cb070385cea83023fbc17.jpg


本文转载自天眼查,转载目的在于传递更多信息,并不代表本站赞同其观点和对其真实性负责。如涉及作品内容、版权和其它问题,请联系天眼查通知我方删除,我方将在收到通知后第一时间删除内容!本文只提供参考并不构成任何投资及应用建议。本站拥有对此声明的最终解释权。