宁德时代人形机器人新专利获授权
天眼查知识产权信息显示,近日,宁德时代未来能源(上海)研究院有限公司、宁德时代新能源科技股份有限公司申请的“关节结构和机器人”专利获授权。
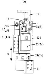
摘要显示,本申请涉及机器人技术领域,其中,关节结构包括关节组件、第一驱动件及第二驱动件,第一驱动件设置于基础部,第一驱动件具有朝向第一方向设置的第一驱动转轴,第一驱动转轴驱动连接连接部;第二驱动件设置于连接部,第二驱动件具有朝向第一方向设置的第二驱动转轴,第二驱动转轴驱动连接活动部;第一驱动件与第二驱动件在第一方向至少部分重合设置。本申请提供的技术方案,将该关节结构应用到人形机器人的颈部,可以改善现有人形机器人的颈部关节结构较为粗大的问题。


本文转载自天眼查,转载目的在于传递更多信息,并不代表本站赞同其观点和对其真实性负责。如涉及作品内容、版权和其它问题,请联系天眼查通知我方删除,我方将在收到通知后第一时间删除内容!本文只提供参考并不构成任何投资及应用建议。本站拥有对此声明的最终解释权。
