百度登记百度漫剧LOGO作品著作权
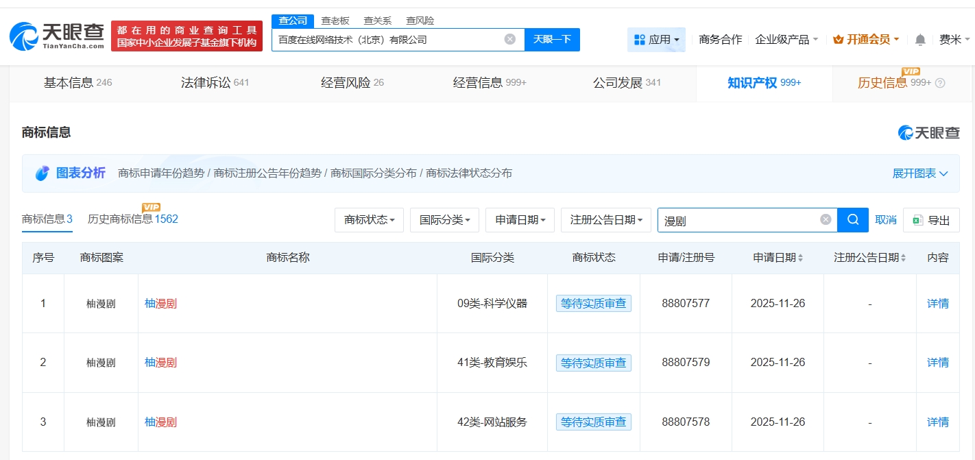
天眼查知识产权信息显示,近日,百度时代网络技术(北京)有限公司登记“百度漫剧LOGO”作品著作权,作品类别为美术。值得一提的是,去年11月,百度在线网络技术(北京)有限公司申请注册多枚“柚漫剧”商标,国际分类为科学仪器、教育娱乐、网站服务,当前商标状态均为等待实质审查。
据媒体报道,2025年12月,百度正式上线旗下免费漫剧APP“柚漫剧”,据悉,这是一个面向年轻用户的免费漫剧观看平台。




本文转载自天眼查,转载目的在于传递更多信息,并不代表本站赞同其观点和对其真实性负责。如涉及作品内容、版权和其它问题,请联系天眼查通知我方删除,我方将在收到通知后第一时间删除内容!本文只提供参考并不构成任何投资及应用建议。本站拥有对此声明的最终解释权。
